众所周知,Apple Watch 5已经是一个强大的健康和健身设备,而Apple Watch 6注定会更好,最有可能提高的技术就是瑜伽跟踪,利用心率和运动数据来帮助确定用户正在做的姿势类型。有趣的是,该专利还提到在进行热瑜伽训练时获取皮肤温度读数以进行计算,然后相应地调整测量值,新品可能会在今年9月发布。
近日,外媒曝光了一份苹果的新天线专利,未来Apple Watch 6或许可以通过此巨大升级来替代iPhone,这无疑是一个很大的好消息。
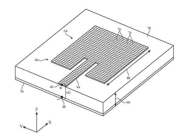
据悉,之所以有这样的推测是因为在AppleInsider发现的一项专利中,Apple推销了内置在Apple Watch显示屏中的无线连接天线,与目前的机制相比,它增加了表面积。
尽管Apple并未指定带显示屏天线的Apple Watch的无线连接性能有多好,但似乎有信心更大的接收器将提供升级。 虽然配备LTE的Apple Watch型号可以在没有iPhone的情况下使用,但用户显然仍然不愿将iPhone留在家里。
截止到目前为止,可能大家很难想象会有一个Apple Watch取代或优于iPhone的未来,但是也许当初大多数人对于取代座机的手机也持同样的看法,所以未来到底是什么样子,谁又能下定论呢。 有消息称,苹果最快将在2023年的Apple Watch中首次使用micro LED屏幕。
不过,极果君要提醒的是不要以为可以这么快就抛弃手机了,据多方消息透露,苹果很快就会推出iPhone 12,无线连接天线只是一项专利,这意味着无法保证苹果会很快或根本不会使用该天线系统。
也就是说,该公司可能会在秋季宣布推出Apple Watch 6时朝这个方向推进一些小步骤,但是想实现可能还是需要一些时间。此外有传言称,新的智能手表具有更长的电池寿命,并且可以作为血氧监测器使用等,不过一切还是要等官方的消息。
推荐阅读:时尚女人网

登陆